Tradition Precision Innovation
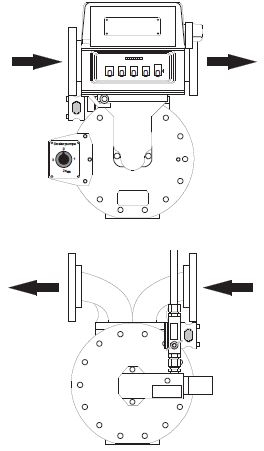
DKP Flow meter mounted Additive Dosing Piston Pumps
These systems are very beneficial in extreme climate conditions and/or in the absence of any electronics.
The metering system comprising the mechanical additive piston pump type DKP is a versatile system used for metering and injection of a wide range of additive products.
Typical applications are anti-icing (aviation market sector) as well as mineral oil performance additives or markers.

Benefits from its simplicity
Application range
Typical combinations
The DKP is typically applied to Alfons Haar PD meter type
Alfons Haar Posititiv Displacement Flow Meter | Injector type | 1st cylinder (Option A1 or A4) | 2nd cylinder (Option A1) | 1st + 2nd cylinder combined |
|---|---|---|---|---|
For other applications (example Satam brand meters) consult factory and the DKP Model Code | ||||
| MKA 2290 (2,000 lpm) | DKP 2,7 A4 | 2.7 = 1,000 ppm | ||
| DKP 2,7- 4,8 A1 | 2.7 = 1,000 ppm | 4.8 = 2,000 ppm | 3,000 ppm | |
| MKA 3350 (3,000 lpm) | DKP 4,1 A4 | 4.1 = 1000 ppm | ||
| DKP 4,1 - 7,1 A1 | 4.1 = 1,000 ppm | 7.1 = 2,000 ppm | 3,000 ppm | |